Forum  M’enregistrer
* *

Nous sommes le Sam 25 Oct 2025, 13:26:08

Heures au format UTC + 1 heure




Poster un nouveau sujet RĂ©pondre au sujet  [ 67 messages ]  Aller Ă  la page PrĂ©cĂ©dente  1, 2, 3, 4  Suivante
Auteur Message
 Sujet du message: Re: [ECHAPPEMENT] Photos + schemas toutes motorisations 605
MessagePostĂ©: Mer 01 Sep 2010, 8:51:57 
Hors ligne
Régulier
Régulier
Avatar de l’utilisateur

Inscription: Dim 05 Avr 2009, 21:43:53
Messages: 924
Localisation: Alpes Maritimes
Roule en: 605 TCT 2l
Citation:
une fois le collier ôté, le tout s'écarte facilement, il n'y a aucun emboîtement
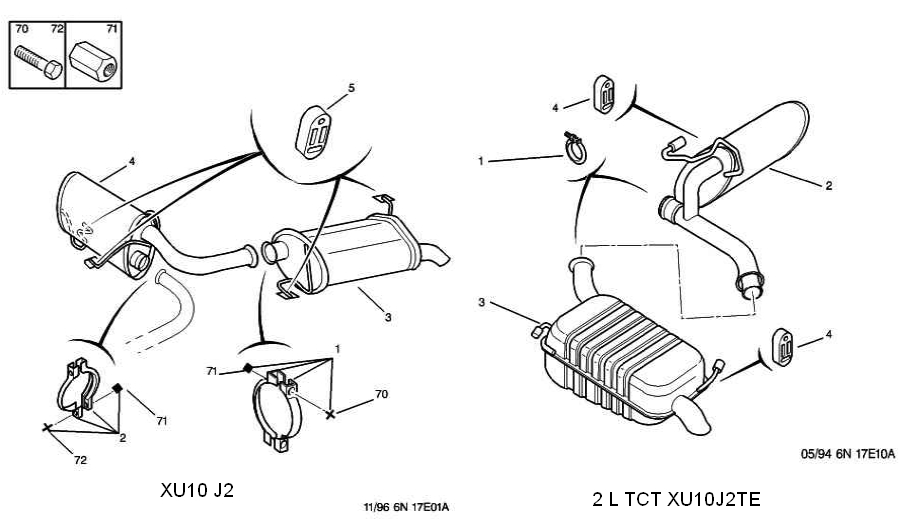
J'ai regardé sur SBox, effectivement c'est la seule , à essence, a avoir un emboitement des tubes + le cône. On le voit bien sur l'éclaté de droite. Et c'est le même montage pour le pot de détente et le pot catalytique donc je risque d'avoir les mêmes soucis pour le démontage de la jonction 3.


Echappements.jpg
Echappements.jpg [ 147.65 Kio | Vu 19786 fois ]


_________________
Joël
Actuelles :407 Phase II-2,2 - 09/2008 37 000 kms --- 106 Color Line 11/2002 49 000kms
Avant => 605 Executive 2L.Turbo Essence 150CV-6BRGXE-BVM -Gris Chateau- 09/ 1999- 83 500 kms
605 SLI - Phase 1 / 505 GTI / 504 TI / 304 S Berline / 304 S Coupé / 204 Coupé / Renault 8


Dernière édition par Jodine06 le Mer 01 Sep 2010, 10:44:15, édité 2 fois.
Haut
 Profil  
 

 Annonces du forum Peugeot 605

 Sujet du message: Re: [ECHAPPEMENT] Photos + schemas toutes motorisations 605
MessagePostĂ©: Mer 01 Sep 2010, 10:36:15 
Hors ligne
Passionné
Passionné
Avatar de l’utilisateur

Inscription: Sam 03 Mar 2007, 0:00:00
Messages: 14942
Donc en final, les morceaux ne coutent pas chers sur cette motorisation, mais sont indémontables un par un, donc bon pour changer la ligne complète en gros


Haut
 Profil  
 
 Sujet du message: Re: [ECHAPPEMENT] Photos + schemas toutes motorisations 605
MessagePostĂ©: Mer 01 Sep 2010, 12:16:13 
Hors ligne
Régulier
Régulier
Avatar de l’utilisateur

Inscription: Dim 05 Avr 2009, 21:43:53
Messages: 924
Localisation: Alpes Maritimes
Roule en: 605 TCT 2l
Gilles a écrit:
les morceaux ne coutent pas chers sur cette motorisation, mais sont indémontables
Les éléments sont démontables mais l'élément à remplacer n'est plus réutilisable ( Je voulais faire l'essai de la suppression du pot intermédiaire donc récupérer le tuyau horizontal)

D'après la doc Bosal, toutes ces motorisations ont un échappement manchonné en plus des cônes: 6BRGXE, 6BRGXP, 6BRGX2, 6BRGX4, 6BRJ42, 6BRJ44

-- Edit du Mer 01 Sep 2010, 13:16:13 --

Après deux heures d'efforts, l'échappement intermédiaire ne daigne toujours pas se décoller. Si j'avais pu sortir l'intermédiaire + le silencieux, j'aurais pu faire la suppression de l'intermédiaire.
J'ai commandé un Bosal chez Yakarouler : 86,90 € + 8,90 € de port soit 95,80 €.

_________________
Joël
Actuelles :407 Phase II-2,2 - 09/2008 37 000 kms --- 106 Color Line 11/2002 49 000kms
Avant => 605 Executive 2L.Turbo Essence 150CV-6BRGXE-BVM -Gris Chateau- 09/ 1999- 83 500 kms
605 SLI - Phase 1 / 505 GTI / 504 TI / 304 S Berline / 304 S Coupé / 204 Coupé / Renault 8


Haut
 Profil  
 
 Sujet du message: Re: [ECHAPPEMENT] Photos + schemas toutes motorisations 605
MessagePostĂ©: Mer 01 Sep 2010, 12:35:27 
Hors ligne
Passionné
Passionné
Avatar de l’utilisateur

Inscription: Sam 03 Mar 2007, 0:00:00
Messages: 14942
Vraiment a chier comme système d'emboitement, mais en même temps, c'est ce qui doit faire toute sa solidité depuis 11 ans, ce qui est rare pour un modèle essence.


Haut
 Profil  
 
 Sujet du message: Re: [ECHAPPEMENT] Photos + schemas toutes motorisations 605
MessagePostĂ©: Mer 01 Sep 2010, 12:43:00 
Hors ligne
Régulier
Régulier
Avatar de l’utilisateur

Inscription: Jeu 30 Avr 2009, 16:05:53
Messages: 674
Localisation: 37 Tours
Roule en: 605 PRV ph1
Voilà l'emboitement, j'ai gardé en secours le détente que j'ai changé.

Il m'a fallu deux jours pour le sortir.
Téléphone 012.JPG
Téléphone 012.JPG [ 141.74 Kio | Vu 19768 fois ]


Et voilà l'autre coté, j'avais pris des photos lors du démontage.
605 039.JPG
605 039.JPG [ 123.84 Kio | Vu 19768 fois ]

_________________
Paul

605 3.0 V6 ES9 Ph 2 (6BXFZP) - 194 CV (16 fisc.)-BVA 4HP20 -07/1997-175000km (Actuel 199000) Gris Aster (M0YJ)
605 S.V3.0 V6 PRV Ph 1 (6BSFZ4) - 170 CV (16 fisc.)-BVA 4HP18-09/1990-217000 km(Actuel 261000) Beige Mayfair (M1CN)

Ancienne 605 SRTI 2.0 Turbo Ph2 (6BRGXE) - 150 CV (9 fisc.)-BVM-01/1998-143500 km (Actuel 152000) Bleu de Rhodes (MOMP) Vendue.


Haut
 Profil  
 
 Sujet du message: Re: [ECHAPPEMENT] Photos + schemas toutes motorisations 605
MessagePostĂ©: Mer 01 Sep 2010, 13:26:00 
Hors ligne
Régulier
Régulier
Avatar de l’utilisateur

Inscription: Dim 05 Avr 2009, 21:43:53
Messages: 924
Localisation: Alpes Maritimes
Roule en: 605 TCT 2l
Je pense que ce montage a été étudié pour que les éléments usagés ne soient pas supprimés et, de ce fait, ne rendent le véhicule non conforme aux normes antipollution 2000. Pour rendre démontables les jonctions, il faut raccourcir le manchon afin que l'emboitement soit très court ou le monter avec de la graisse "haute température". Je ferai la modif sur le nouveau et le tube du pot de détente.
Gilles a écrit:
Vraiment a chier comme système d'emboitement, mais en même temps, c'est ce qui doit faire toute sa solidité depuis 11 ans
A mon avis , ce n'est pas l'emboitement qui a fait durer mon échappement mais le fait que je n'utilise la 605 que pour des parcours supérieurs à 20 kms(pas de ville) et qu'elle n'a que 80 000 kms. Le pot intermédiaire s'est percé par la corrosion, et monté comme il l'est (une entrée et pas de sortie), la condensation ne peut pas s'échapper.

Maintenant, j'ai compris pourquoi Parcmètre n'arrivait pas à remonter sa ligne d'échappement. C'est impossible parce que les éléments s'alignent automatiquement.

_________________
Joël
Actuelles :407 Phase II-2,2 - 09/2008 37 000 kms --- 106 Color Line 11/2002 49 000kms
Avant => 605 Executive 2L.Turbo Essence 150CV-6BRGXE-BVM -Gris Chateau- 09/ 1999- 83 500 kms
605 SLI - Phase 1 / 505 GTI / 504 TI / 304 S Berline / 304 S Coupé / 204 Coupé / Renault 8


Haut
 Profil  
 
 Sujet du message: Re: [ECHAPPEMENT] Photos + schemas toutes motorisations 605
MessagePostĂ©: Mer 01 Sep 2010, 13:49:10 
Hors ligne
Régulier
Régulier
Avatar de l’utilisateur

Inscription: Jeu 30 Avr 2009, 16:05:53
Messages: 674
Localisation: 37 Tours
Roule en: 605 PRV ph1
Jodine06 a écrit:
Le pot intermédiaire s'est percé par la corrosion, et monté comme il l'est (une entrée et pas de sortie), la condensation ne peut pas s'échapper.

Maintenant, j'ai compris pourquoi Parcmètre n'arrivait pas à remonter sa ligne d'échappement. C'est impossible parce que les éléments s'alignent automatiquement.


Mon intermédiaire est percé d'un tout petit trou certainement pour permettre à la condensation de partir.

_________________
Paul

605 3.0 V6 ES9 Ph 2 (6BXFZP) - 194 CV (16 fisc.)-BVA 4HP20 -07/1997-175000km (Actuel 199000) Gris Aster (M0YJ)
605 S.V3.0 V6 PRV Ph 1 (6BSFZ4) - 170 CV (16 fisc.)-BVA 4HP18-09/1990-217000 km(Actuel 261000) Beige Mayfair (M1CN)

Ancienne 605 SRTI 2.0 Turbo Ph2 (6BRGXE) - 150 CV (9 fisc.)-BVM-01/1998-143500 km (Actuel 152000) Bleu de Rhodes (MOMP) Vendue.


Haut
 Profil  
 
 Sujet du message: Re: [ECHAPPEMENT] Photos + schemas toutes motorisations 605
MessagePostĂ©: Mer 01 Sep 2010, 14:26:36 
Hors ligne
Régulier
Régulier
Avatar de l’utilisateur

Inscription: Dim 05 Avr 2009, 21:43:53
Messages: 924
Localisation: Alpes Maritimes
Roule en: 605 TCT 2l
Parcmetre a écrit:
Mon intermédiaire est percé d'un tout petit trou certainement pour permettre à la condensation de partir
Effectivement, il y a un trou mais ce n'est peut-être pas suffisant pour évacuer toute la condensation. En plus, pour éviter le bruit, il y a un fltre à l'intérieur qui doit la retenir.

_________________
Joël
Actuelles :407 Phase II-2,2 - 09/2008 37 000 kms --- 106 Color Line 11/2002 49 000kms
Avant => 605 Executive 2L.Turbo Essence 150CV-6BRGXE-BVM -Gris Chateau- 09/ 1999- 83 500 kms
605 SLI - Phase 1 / 505 GTI / 504 TI / 304 S Berline / 304 S Coupé / 204 Coupé / Renault 8


Haut
 Profil  
 
 Sujet du message: Re: [ECHAPPEMENT] Photos + schemas toutes motorisations 605
MessagePostĂ©: Mer 01 Sep 2010, 21:57:48 
Hors ligne
Assidu
Assidu
Avatar de l’utilisateur

Inscription: Sam 17 Mar 2007, 0:00:00
Messages: 1613
Localisation: VILLARS (42)
Roule en: Autre
Jodine06 a écrit:
Je pense que ce montage a été étudié pour que les éléments usagés ne soient pas supprimés et, de ce fait, ne rendent le véhicule non conforme aux normes antipollution 2000. Pour rendre démontables les jonctions, il faut raccourcir le manchon afin que l'emboitement soit très court ou le monter avec de la graisse "haute température". Je ferai la modif sur le nouveau et le tube du pot de détente.
Gilles a écrit:
Vraiment a chier comme système d'emboitement, mais en même temps, c'est ce qui doit faire toute sa solidité depuis 11 ans
A mon avis , ce n'est pas l'emboitement qui a fait durer mon échappement mais le fait que je n'utilise la 605 que pour des parcours supérieurs à 20 kms(pas de ville) et qu'elle n'a que 80 000 kms. Le pot intermédiaire s'est percé par la corrosion, et monté comme il l'est (une entrée et pas de sortie), la condensation ne peut pas s'échapper.

Maintenant, j'ai compris pourquoi Parcmètre n'arrivait pas à remonter sa ligne d'échappement. C'est impossible parce que les éléments s'alignent automatiquement.


pour le montage et demontage surtout,j'utilise une pate speciale de couleur blanche pour echapement acheter en centre auto,je trouve le resultat assez bon.ça fait plusieurs voitures que je fais et j'en ai demonter un ,ça vient bien :smile:

_________________
Thierry de St-Etienne,une regretée 605 2L5 executive 1998 noire,Aujourdhui Mercedes E200 et renault megane II DCI 120Peugeot 308HDI 112 et Ducati 1000 ST3 pour le plaisir...


Haut
 Profil  
 
 Sujet du message: Re: [ECHAPPEMENT] Photos + schemas toutes motorisations 605
MessagePostĂ©: Mer 01 Sep 2010, 22:02:47 
Hors ligne
Passionné
Passionné
Avatar de l’utilisateur

Inscription: Sam 03 Mar 2007, 0:00:00
Messages: 14942
titus a écrit:
pour le montage et demontage surtout,j'utilise une pate speciale de couleur blanche pour echapement acheter en centre auto,je trouve le resultat assez bon.ça fait plusieurs voitures que je fais et j'en ai demonter un ,ça vient bien :smile:


Titus, tu es sûr que tu ne confonds pas avec la vaseline dont tu te sers habituellement lors de tes RDV avec Seb aux formule 1 :mdrr: :mdrr:


Haut
 Profil  
 
 Sujet du message: Re: [ECHAPPEMENT] Photos + schemas toutes motorisations 605
MessagePostĂ©: Jeu 02 Sep 2010, 5:26:27 
Hors ligne
Assidu
Assidu
Avatar de l’utilisateur

Inscription: Mer 28 Jan 2009, 21:56:15
Messages: 1238
Localisation: 88 Vosges
Roule en: 605 TD 2.1l
lol!
On ne parle plus du mĂŞme emboitement lĂ  :)

_________________
Damien
605 phase1 SVDT 2.1, 110 ch 12 V de 93.
Couleur: Blanche
Équipement: Sièges électriques chauffants,4 vitres électriques, ABS.
225500 KM

Image


Haut
 Profil  
 
 Sujet du message: Re: [ECHAPPEMENT] Photos + schemas toutes motorisations 605
MessagePostĂ©: Jeu 02 Sep 2010, 17:00:47 
Hors ligne
Régulier
Régulier
Avatar de l’utilisateur

Inscription: Dim 05 Avr 2009, 21:43:53
Messages: 924
Localisation: Alpes Maritimes
Roule en: 605 TCT 2l
titus a écrit:
pour le montage et demontage surtout, j'utilise une pate speciale de couleur blanche pour echapement acheter en centre auto
Ce doit être de la graisse au téflon qui tient jusqu'à 250°. Tu as aussi la pate au cuivre (+1000° ), la graisse à l'argent ( 250°).
La graisse au téflon est largement suffisante pour les échappements arrières. Par contre au niveau du pot catalytique, j'en doute ( les gaz sortent du collecteur aux alentours de 900°).

_________________
Joël
Actuelles :407 Phase II-2,2 - 09/2008 37 000 kms --- 106 Color Line 11/2002 49 000kms
Avant => 605 Executive 2L.Turbo Essence 150CV-6BRGXE-BVM -Gris Chateau- 09/ 1999- 83 500 kms
605 SLI - Phase 1 / 505 GTI / 504 TI / 304 S Berline / 304 S Coupé / 204 Coupé / Renault 8


Haut
 Profil  
 
 Sujet du message: Re: [ECHAPPEMENT] Photos + schemas toutes motorisations 605
MessagePostĂ©: Jeu 02 Sep 2010, 17:30:44 
Hors ligne
Régulier
Régulier
Avatar de l’utilisateur

Inscription: Jeu 30 Avr 2009, 16:05:53
Messages: 674
Localisation: 37 Tours
Roule en: 605 PRV ph1
Bardahl fait une pâte de montage qui facilite la mise en place, et qui durcît a la chaleur en faisant une forme d'étanchéité.

Moi j'ai utilisé ça, mais c'est pas de la graisse.

Tu en es venu Ă  bout ?

Moi j'avais sorti par l'avant, débranché le catalytique du collecteur pour changer le joint et les ressorts, puis ensuite la jonction avec le détente, et enfin la jonction détente/intermédiaire. Je ne suis a allé au delà.

Mais je me souviens bien en avoir chié et failli sortir la disqueuse :boxing:

_________________
Paul

605 3.0 V6 ES9 Ph 2 (6BXFZP) - 194 CV (16 fisc.)-BVA 4HP20 -07/1997-175000km (Actuel 199000) Gris Aster (M0YJ)
605 S.V3.0 V6 PRV Ph 1 (6BSFZ4) - 170 CV (16 fisc.)-BVA 4HP18-09/1990-217000 km(Actuel 261000) Beige Mayfair (M1CN)

Ancienne 605 SRTI 2.0 Turbo Ph2 (6BRGXE) - 150 CV (9 fisc.)-BVM-01/1998-143500 km (Actuel 152000) Bleu de Rhodes (MOMP) Vendue.


Dernière édition par Parcmetre le Jeu 02 Sep 2010, 18:29:57, édité 1 fois.

Haut
 Profil  
 
 Sujet du message: Re: [ECHAPPEMENT] Photos + schemas toutes motorisations 605
MessagePostĂ©: Jeu 02 Sep 2010, 18:12:18 
Hors ligne
Régulier
Régulier
Avatar de l’utilisateur

Inscription: Dim 05 Avr 2009, 21:43:53
Messages: 924
Localisation: Alpes Maritimes
Roule en: 605 TCT 2l
Parcmetre a écrit:
Tu en est venu Ă  bout ?
Non, j'ai soulevé le cone femelle, vers le haut, rempli avec du dégrippant et laissé toute la nuit sous contrainte en rotation et extension l'intermédiaire et le silencieux. Ce matin, rien n'a bougé. Comme j'avais besoin de la 605, j'ai remis les colliers sans les serrer, peut-être qu'avec les vibrations les éléments se décolleront. Je pense que je vais utiliser la disqueuse dès que j'aurai reçu le pot. J'aurais aimé les démonter pour supprimer l'intermédiaire et voir ce que cela change mais tant pis.
J'ai commandé le pot chez Yakarouler et je suis l'expédition. C'est directement Bosal qui s'occupe de l'envoi. Je vous tiendrai informé pour savoir si c'est sérieux.

_________________
Joël
Actuelles :407 Phase II-2,2 - 09/2008 37 000 kms --- 106 Color Line 11/2002 49 000kms
Avant => 605 Executive 2L.Turbo Essence 150CV-6BRGXE-BVM -Gris Chateau- 09/ 1999- 83 500 kms
605 SLI - Phase 1 / 505 GTI / 504 TI / 304 S Berline / 304 S Coupé / 204 Coupé / Renault 8


Haut
 Profil  
 
 Sujet du message: Re: [ECHAPPEMENT] Photos + schemas toutes motorisations 605
MessagePostĂ©: Jeu 02 Sep 2010, 18:19:02 
Hors ligne
Spécialiste
Spécialiste
Avatar de l’utilisateur

Inscription: Mar 12 AoĂ» 2008, 23:00:00
Messages: 2075
Roule en: Autre
Je ne sais pas si ca vaut quelque chose, mais est-ce que démonter les éléments chaque année
ou tous les deux ans et remettre de la pâte pourrai éviter les "soudures" ?


Haut
 Profil  
 
 Sujet du message: Re: [ECHAPPEMENT] Photos + schemas toutes motorisations 605
MessagePostĂ©: Jeu 02 Sep 2010, 19:08:28 
Hors ligne
Régulier
Régulier
Avatar de l’utilisateur

Inscription: Dim 05 Avr 2009, 21:43:53
Messages: 924
Localisation: Alpes Maritimes
Roule en: 605 TCT 2l
bseb67 a écrit:
Je ne sais pas si ca vaut quelque chose, mais est-ce que démonter les éléments chaque année ou tous les deux ans et remettre de la pâte pourrai éviter les "soudures" ?
Cela s'appelle de la maintenance préventive mais cela ne servirait à rien
- d'abord parce que les élements montés à la graisse haute température ne sont pas mobiles donc la graisse en place l'est définitivement
- ensuite parce que les élements HS ne sont pas réparables, donc aucun intéret à les récupérer.
Dans mon cas je voulais faire un essai en supprimant l'intermédiaire et pour cela, il fallait que je récupère le tuyau.
Par contre, sur l'élément neuf et sur la jonction coté pot de détente, je vais raccourcir le manchon.

_________________
Joël
Actuelles :407 Phase II-2,2 - 09/2008 37 000 kms --- 106 Color Line 11/2002 49 000kms
Avant => 605 Executive 2L.Turbo Essence 150CV-6BRGXE-BVM -Gris Chateau- 09/ 1999- 83 500 kms
605 SLI - Phase 1 / 505 GTI / 504 TI / 304 S Berline / 304 S Coupé / 204 Coupé / Renault 8


Haut
 Profil  
 
 Sujet du message: Re: [ECHAPPEMENT] Photos + schemas toutes motorisations 605
MessagePostĂ©: Jeu 02 Sep 2010, 20:19:20 
Hors ligne
Spécialiste
Spécialiste
Avatar de l’utilisateur

Inscription: Mar 12 AoĂ» 2008, 23:00:00
Messages: 2075
Roule en: Autre
Moi je parlais sur du neuf, pas sur du vieux.
En fait si je dis ca, c'est par ce que je faisais ca sur mon scooter
je démontais régulièrement la cartouche, le pot et le coude pour nettoyer
le tout et remettre une couche de peinture haute température
pour protéger le tout.

Mais je pense que tu as raison de réduire le manchon d'emboitement,
au moins tu réduira la surface de soudure.


Haut
 Profil  
 
 Sujet du message: Re: [ECHAPPEMENT] Photos + schemas toutes motorisations 605
MessagePostĂ©: Jeu 02 Sep 2010, 20:24:39 
Hors ligne
Passionné
Passionné
Avatar de l’utilisateur

Inscription: Sam 03 Mar 2007, 0:00:00
Messages: 14942
bseb67 a écrit:
Moi je parlais sur du neuf, pas sur du vieux.

Même avec du neuf, ce n'est pas jouable, Joël a expliqué pourquoi

bseb67 a écrit:
En fait si je dis ca, c'est par ce que je faisais ca sur mon scooter


Une 605, c'est pas une mobylette, arrĂŞtes de te 205foreviser :lol:


Haut
 Profil  
 
 Sujet du message: Re: [ECHAPPEMENT] Photos + schemas toutes motorisations 605
MessagePostĂ©: Jeu 02 Sep 2010, 20:38:21 
Hors ligne
Assidu
Assidu
Avatar de l’utilisateur

Inscription: Mer 28 Jan 2009, 21:56:15
Messages: 1238
Localisation: 88 Vosges
Roule en: 605 TD 2.1l
Citation:
205foreviser

mdr, une nouvelle mutation génétique

_________________
Damien
605 phase1 SVDT 2.1, 110 ch 12 V de 93.
Couleur: Blanche
Équipement: Sièges électriques chauffants,4 vitres électriques, ABS.
225500 KM

Image


Haut
 Profil  
 
 Sujet du message: Re: [ECHAPPEMENT] Photos + schemas toutes motorisations 605
MessagePostĂ©: Sam 04 Sep 2010, 21:21:40 
Hors ligne
Régulier
Régulier
Avatar de l’utilisateur

Inscription: Dim 05 Avr 2009, 21:43:53
Messages: 924
Localisation: Alpes Maritimes
Roule en: 605 TCT 2l
L'échappement intermédiaire est arrivé.
Commandé le 01 septembre à 12h 15 chez Yakarouler( 95,80 € port compris), il a été livré, chez moi, le 3 septembre à13h.
48 H chrono , mieux que La Redoute. Reste à l'installer. Pourvu qu'il tienne aussi longtemps que le précédent .

-- Edit du Sam 04 Sep 2010, 19:38:12 --

Les pots intermédiaire et arrière sont enfin démontés. Ce n'est pas l'oxydation qui les soudait mais la calamine. Il y a plus d'un mm de jeu entre les tubes male et femelle, jeu qui est comblé par la calamine donc indémontables. Même avec le tube ouvert par meulage ou par trait de scie, les tubyaux ne se déboitent pas. Le dégrippant n'avait aucun effet. Ce qui me fait dire que graisser les jonctions est inutile et que le manchonnage sur 45 mm ne se justifie pas du tout. Je vais le réduire à 5/6 mm, ce sera suffisant puis qu'il n'assure pas d'étanchéité. Ce soir, un coup de peinture gris métalisé sur le silencieux et demain modif des tuyaux puis remontage.


Jonction pot détente-intermédiaire.jpg
Jonction pot détente-intermédiaire.jpg [ 489 Kio | Vu 19685 fois ]

Tube pot détente.jpg
Tube pot détente.jpg [ 528.57 Kio | Vu 19685 fois ]

Calamine.jpg
Calamine.jpg [ 585.4 Kio | Vu 19685 fois ]

Pot intermédiaire.jpg
Pot intermédiaire.jpg [ 597.85 Kio | Vu 19700 fois ]


_________________
Joël
Actuelles :407 Phase II-2,2 - 09/2008 37 000 kms --- 106 Color Line 11/2002 49 000kms
Avant => 605 Executive 2L.Turbo Essence 150CV-6BRGXE-BVM -Gris Chateau- 09/ 1999- 83 500 kms
605 SLI - Phase 1 / 505 GTI / 504 TI / 304 S Berline / 304 S Coupé / 204 Coupé / Renault 8
Haut
 Profil  
 
Afficher les messages postĂ©s depuis:  Trier par  
Poster un nouveau sujet RĂ©pondre au sujet  [ 67 messages ]  Aller Ă  la page PrĂ©cĂ©dente  1, 2, 3, 4  Suivante

Heures au format UTC + 1 heure


Qui est en ligne

Utilisateurs parcourant ce forum: Aucun utilisateur enregistré et 0 invités


Vous ne pouvez pas poster de nouveaux sujets
Vous ne pouvez pas répondre aux sujets
Vous ne pouvez pas éditer vos messages
Vous ne pouvez pas supprimer vos messages
Vous ne pouvez pas joindre des fichiers

Rechercher:
Aller Ă :  


Tous les messages postés sur ce forum sont sous la responsabilité des inscrits qui les ont écrits,
non du webmaster-administrateur ou des modérateurs-organisateurs, à l'exception de leurs propres messages.

Réalisé par : Franck - Copie même partielle interdite ©

Powered by phpBB © 2023